
扫二维码查看手机官网
腭式闸门用于堆比重≤2.5t/ m3的各类矿石、煤炭、焦炭、灰渣、化工产品等散状物料,应用于建材、冶金、化工、玻璃等行业的仓底卸料。
一、结构特点
腭式闸门采用碳钢焊接成形,结构独特,运行灵活可靠,无卡阻现象,配用不同的传动装置能满足不同的工况需要,电动腭式闸门采用带有超载保护装置的电动推杆,可避免烧坏电机,可以远距离操纵或程序控制,往复行程可以精确调节位置自锁,电液动腭式闸门采用电液推杆,全液压传动,推拉力均可实现无级调速,气动腭式闸门采用气动推杆,通过配件组合可以远距离操纵或现场控制,SEF为手动,DEF为电动,Y为电液动,QEF为气动。
二、性能参数

三、传动装置参数


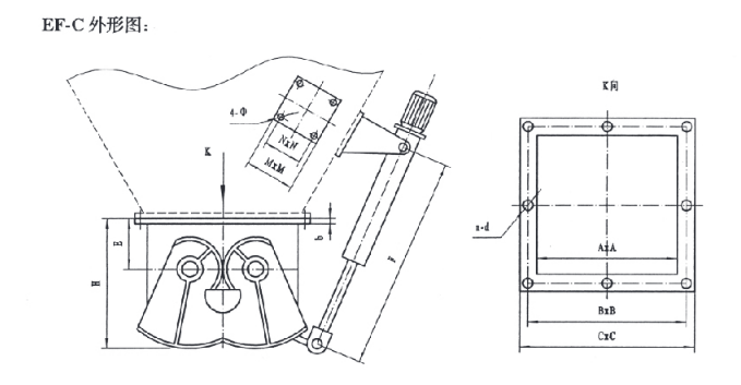
BF-C外形连接尺寸

四、工作原理
腭式闸门由本体、扇形闸板、轴、齿轮、密封件、执行机构等部件构成,手动或执行机构推动摇杆,使齿轮带动扇形闸板沿轴心旋转,使两个扇形闸板向两边开启,物料随即下落,待接料装置满载后,再由执行机构带动摇杆,使扇形闸板复位,关闭截断下落的物料。
五、使用说明
安装时请注意闸门本体上标明介质流向,两法兰连接时必需加密封垫片,然后均匀锁紧螺栓。
运行时请辨清扇形闸板开关方向,执行机构请正确接线。
运行时请定期给各传动部位加润滑油。
公 司:南通紫瑞环保科技有限公司
手 机:13773759188
邮 箱:13773759188@163.com
地 址:江苏省南通市海安高新区谢庄村10组